-
Каталог
-
iPhone
- iPhone 17 Pro Max
- iPhone 17 Pro
- iPhone Air
- iPhone 17
- iPhone 16е
- iPhone 16 Pro Max
- iPhone 16 Pro
- iPhone 16 Plus
- iPhone 16
- iPhone 15 Pro Max
- iPhone 15 Pro
- iPhone 15 Plus
- iPhone 15
- iPhone 14 Pro Max
- iPhone 14 Pro
- iPhone 14 Plus
- iPhone 14
- iPhone 13 Pro Max
- iPhone 13 Pro
- iPhone 13
- iPhone 12 Pro Max
- iPhone 12 Pro
- iPhone 12
- iPhone 12 Mini
- iPhone 11
- iPad
- Мас
- Watch
- AirPods
- Аксессуары
- БУ техника
- Sony
- Dyson
- Прочее
-
iPhone
- Компания
- Ремонт
- Акции
- Отзывы
- Блог
- Контакты
+7 (917) 766-18-94
Ежедневно с 10:00 до 20:00
Выберите ваш город
18 июля 2023
Раскрыт полностью сворачивающийся iPhone
Американская компания Apple запатентовала технологию, которая позволит сворачивать смартфон iPhone в трубочку, будто он одеяло. Соответствующий патент опубликован на сайте профильного бюро США.
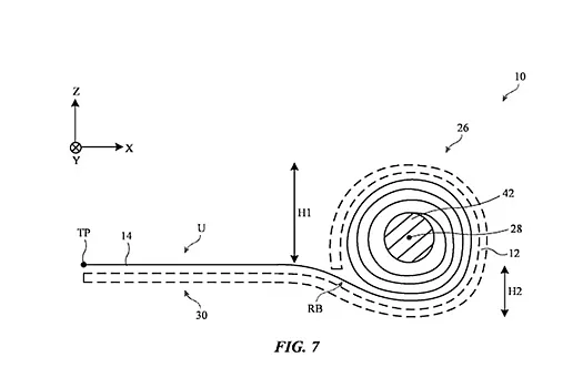
Судя по данным в документе, патент был подан Apple в ноябре 2022 года, но опубликован только 13 июля. На чертежах показан сворачиваемый электронный дисплей для смартфона.
В конструкции используется утонченное стекло и компоненты, создающие сжатие для защиты экрана при сворачивании.
В документе указано, что патент предназначен для обычных электронных дисплеев. Однако Apple отдельно отметила в заявке, что этот дизайн может быть использован для смартфонов.
Судя по всему Apple намерена применять технологию для разработки будущей линейки iPhone в новом форм-факторе, над которым, по слухам, уже работают такие компании, как Samsung и Motorola. Компания LG выпустила в продажу OLED-телевизор, который способен полностью складываться.
Samsung преуспела в разработке смартфонов со складными экранами. Компания известна двумя линейками — Galaxy Z Flip и Fold. Также подобные разработки развивает Huawei и другие китайские компании. Apple пока не заявляла об официальных планах по созданию «айфона» со складным экраном.
Ранее редкая модель iPhone была продана за рекордные 14,4 млн руб.
Судя по данным в документе, патент был подан Apple в ноябре 2022 года, но опубликован только 13 июля. На чертежах показан сворачиваемый электронный дисплей для смартфона.
В конструкции используется утонченное стекло и компоненты, создающие сжатие для защиты экрана при сворачивании.
В документе указано, что патент предназначен для обычных электронных дисплеев. Однако Apple отдельно отметила в заявке, что этот дизайн может быть использован для смартфонов.
Судя по всему Apple намерена применять технологию для разработки будущей линейки iPhone в новом форм-факторе, над которым, по слухам, уже работают такие компании, как Samsung и Motorola. Компания LG выпустила в продажу OLED-телевизор, который способен полностью складываться.
Samsung преуспела в разработке смартфонов со складными экранами. Компания известна двумя линейками — Galaxy Z Flip и Fold. Также подобные разработки развивает Huawei и другие китайские компании. Apple пока не заявляла об официальных планах по созданию «айфона» со складным экраном.
Ранее редкая модель iPhone была продана за рекордные 14,4 млн руб.
Будьте в курсе последних
новостей и акций
новостей и акций
Нажимая на кнопку, вы соглашаетесь с условиями обработки персональных данных
-
iPhone
- iPhone 17 Pro Max
- iPhone 17 Pro
- iPhone Air
- iPhone 17
- iPhone 16е
- iPhone 16 Pro Max
- iPhone 16 Pro
- iPhone 16 Plus
- iPhone 16
- iPhone 15 Pro Max
- iPhone 15 Pro
- iPhone 15 Plus
- iPhone 15
- iPhone 14 Pro Max
- iPhone 14 Pro
- iPhone 14 Plus
- iPhone 14
- iPhone 13 Pro Max
- iPhone 13 Pro
- iPhone 13
- iPhone 12 Pro Max
- iPhone 12 Pro
- iPhone 12
- iPhone 12 Mini
- iPhone 11
- iPad
- Мас
- Watch
- AirPods
- Аксессуары
- БУ техника
- Sony
- Dyson
- Прочее
© KINGSTORE 2025 г. Все права защищены.